The Public Paperfolding History Project

Main Index Page

Last updated 10/3/2026

x

Fold, Slit and Fold Boxes and Other Useful Items
 
This page is being used to ciollect information about Fold, Slit and Fold Boxes and Other Useful Items. Please contact me if you know any of this information is incorrect or if you have any other information that should be added. Thank you.

Please note that this index page is incomplete at present since I was not originally recording instances of this kind of design.

**********

1892

'The Prang Primary Course in Art Education: Part 1: The First Primary Year' by Mary Dana Hicks and Josephine C Locke, which was published by the Prang Educational Company in Boston in 1892, contains several designs for boxes made using the slit and fold technique.

Cubic Box (Cut) - From a square divided into a 3x3 grid

***

Oblong Box / Market Basket (Cut) - From a 2x3 oblong

***

Card Tray (Cut)

**********

The Slit and Fold Cubic Box - 1897 onwards

**********

1910

A slit and cut design for an 'Einfacher Kasten' (Simple Box), which can be turned into a basket, appears in 'Allerlei Papierarbeiten' by Hildergard Gierke and Alice Kuczynski, which was published by Drud und Verlag B G Teubner in Leipzig and Berlin in 1910.

**********

1913

'Trabajo Manual' by C Champy Alvear, which was published by Cabaut y Cia in Buenos Aires in 1913, contains several designs made using the slit and fold technique.

***

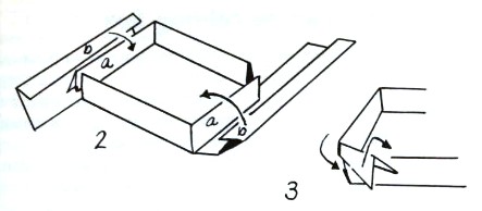
p71. Caja japonesa

The instructions show how to construct a lid for the box in a similar way and how to twist the two together.

**********

1961

'A Long Paper Box' appears in 'How to Make Things Out of Paper', which is a translation into English, published in 1961 by Sterling Publishing Co Inc in New York, of Walter Sperling's 1955 book 'Papier-Spiele'.

**********